|
 |
節能燈系列 >> |
|
|
DGS13/127Y(A)礦用隔爆型熒光燈
 |
| 一、適用范圍及用途 |
|
DGS13/127Y(A)礦用隔爆型熒光燈(以下簡稱13W熒光燈)。適用于具有瓦斯及煤塵爆炸危險的礦井中,可供車場及機電峒室、中心變電所、大巷運輸、泵房等場所供照明之用。
燈具按GB3836-2010《爆炸性氣體環境用電氣設備》、MT221-2005《煤礦用防爆燈具》等有關標準設計、制造與檢驗。 |
| 二、型號及含義 |
 |
| 三、主要特點 |
●燈管采用4U玻璃管,優質純稀土三基色熒光粉和獨特的配方工藝,光效高,節能,壽命5000—8000小時。
●熒光燈采用燈管與電子鎮流器一體化設計。鎮流器承受瞬時高峰值電壓高,且啟動速度快無閃爍。
●隔爆面表面處理采用先進的鈍化工藝,能防止井下含硫潮濕成分氣體對殼體的腐蝕,能正常開蓋維護。
●燈管采用頂口式設計。玻璃外罩及燈管意外破損時,可自動斷電,有效防止由此引起的意外事故。
●殼體表面及防護網采用靜電噴涂工藝處理,保證燈具在井下潮濕惡劣環境中的長期使用。 |
| 四、主要技術參數 |
|
產品型號
|
額定功率
|
額定電壓
|
照度
|
引入電纜規格
|
重量
|
|
DGS13/127Y(A)
|
13W
|
127V
|
≥10Lx
|
¢10-14
|
3Kg
|
|
| 五、結構概述 |
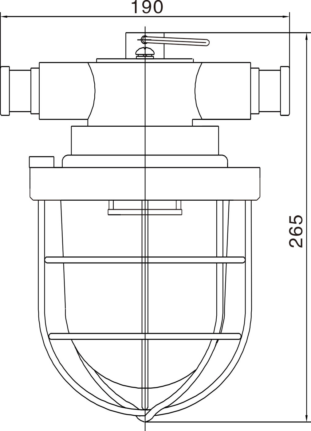
六、外形尺寸 |
| 13W熒光燈由上、下燈體兩部分組成,以三個止口相連,并用兩個M5×14螺釘定位。上燈體由鋁合金外殼、電纜引入裝置及設有連鎖機構的燈座組成,并設有內外接地螺釘。下燈體由鋁合金外殼、密封墊、防爆玻璃罩及金屬保護網組成。鋁合金外殼轉動時,能使燈座觸頭自動斷電,從而保證了安全。 燈頭與電源采用直口式壓接方式。熒光燈被壓在上燈體與下燈體之間。接線腔與光源腔、燈具內腔與外界之間由符合規定的隔爆接合面連接。 |
|
|
| 【復制地址 】【 收藏 】 【 打印 】 【 關閉 】 |
|
|
|